
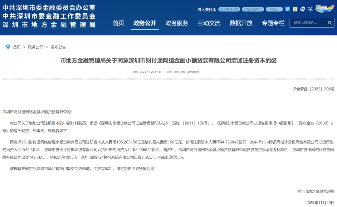
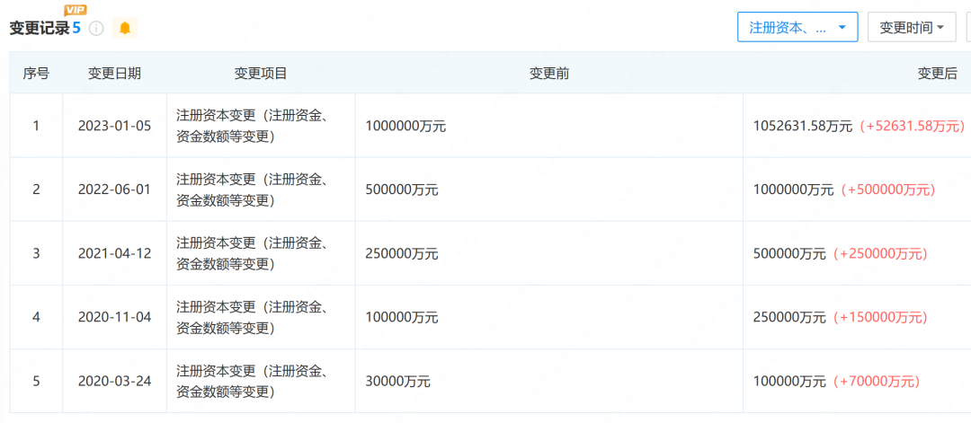
近年来,伴随《小额贷款公司监督管理暂行办法》、《网络小额贷款业务管理暂行办法(征求意见稿)》等小贷领域细分管理规定的下发, 各类小贷公司为满足合规要求,增资等动作频繁。其中,作为腾讯旗下的网络小贷公司,财付通网络金融小额贷款有限公司(下称“财付通小贷”)在11月20日获批增资,注册资本从105.26亿元增加至150亿元,新增注册资本44.74亿元。增资完成后,财付通小贷的注册资本金总额仅次于深圳中融小贷的190亿元,位居小贷行业注册资本金第二位。其中,深圳市腾讯网域计算机网络有限公司以货币形式出资人民币42.5亿元、深圳市腾讯计算机系统有限公司以货币形式出资人民币2.24亿元。本次增资之后,财付通小贷各股东的持股比例为:深圳市腾讯网域计算机网络有限公司出资142.5亿元,持股比例为95%;深圳市腾讯计算机系统有限公司出资7.5亿元,持股比例为5%。而2020年至今,财付通小贷已经密集增资6次。其中,2020年3月,财付通小贷注册资本由3亿元增加至10亿元;同年11月又再次增加到25亿元;2021年4月,大幅增资至50亿元;2022年6月,再次增加注册资本金至100亿元;2023年1月,注册资本金又增长至105.26亿元。不久前的11月5日,财付通小贷还获批了高管变动和注册地址变更,其中董事由滕辉变更为孙霄,董事、总经理由张钧变更为王鹏飞。注册地址则变更到了前海的腾讯数码大厦。工商资料显示,财付通小贷成立于2013年10月28日,法定代表人为杜西库,经营范围包括“许可经营项目:专营小额贷款业务,经相关部门批准开展互联网小额贷款业务(不得吸收公众存款)”。业内人士表示,财付通小贷的多次增资,是其在强监管环境下为满足合规要求、并支撑其消费信贷业务规模持续扩张的战略举措。其中,2025年1月实施的《小额贷款公司监督管理暂行办法》明确规定,网络小贷公司在联合贷款中的单笔出资比例不得低于30%。这一规定将机构的业务规模上限与其资本实力直接挂钩,形成了硬性约束。同时,早在2020年11月,《网络小额贷款业务管理暂行办法(征求意见稿)》就已释放出强化资本监管的明确信号,为行业设定了较高的跨省经营门槛。因此,财付通小贷自2020年以来从3亿元增至如今的150亿元,其六次增资的核心驱动力之一,正是为了满足这一不断趋严的资本充足性监管框架的要求。此外,此次增资也深刻反映了腾讯对其金融科技业务,特别是消费贷款服务的战略布局与增长预期。财付通小贷是微信生态内消费信贷产品“微信分付”的运营主体,该产品已成为腾讯金融科技收入增长的重要动能。腾讯2025年第三季度财报显示,金融科技及企业服务业务收入同比增长10%至581.7亿元,主要受益于商业支付活动及消费贷款服务的收入增加。业务规模的快速扩张,必然要求更强的资本金作为风险抵御和持续展业的基石。通过将资本金提升至150亿元,也为其后续“微信分付”等产品的规模扩张预留充足空间。据了解,财付通小贷的主要信贷产品“分付”,于2020 年初启动灰度测试,后逐渐开始放量。新经济观察团小编实测“分付”后发现,其由财付通小贷等合作金融机构提供信贷服务,运营主体为重庆市微恒科技有限公司,用户可选择历史交易来申请借款,资金打款到银行卡。笔者可用额度为2500元,日利率0.04%,年化利率为14.6%。在增资完成后,按监管要求的5倍杠杆,财付通小贷理论上的最高放贷规模将达到750亿元;若加上联合贷模式,财付通小贷的出资比例不低于 30%,放款规模可达到2500亿元。此前21世纪经济报道的消息称,截至2025年6月末,分付产品贷款余额达1125.88亿元,而公开信息显示,2024年6月末财付通小贷的贷款余额约为129亿元。依托腾讯10亿+用户规模,以及海量交易数据,增资之后未来“分付”以及腾讯整体的消费信贷业务规模不容小觑。*声明:新经济观察团登载此文出于传递更多信息之目的,不构成任何建议。原创文章未获授权不得转载。