粉笔观察笔记:回购、增持与AI爆款下的价值重估
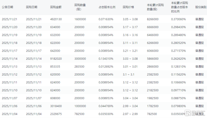
近期,粉笔在资本市场展开了一系列密集且连续的回购动作,引发市场关注。而此前,10月20日,粉笔创始人张小龙与总裁魏亮还出手增持,并自愿锁仓两年。这一"真金白银"的投入"组合拳",无疑向市场释放了积极的信号。

值得一提的是,此前2026年国考报考年龄放宽的消息也一度带动考公概念股走强行情。对此,信达证券发布研报指出,建议关注招录培训投资机会。紧随其后粉笔亦发布喜报,旗下AI刷题系统班在国考报名公告发布后单日销量突破14000单,受消息刺激,其当日股价更是再度大涨7%。
而"粉笔模考"亦在近几日冲上微博热搜榜第二。据透露,粉笔在2025年共举办44期国考行测模考大赛,总报名人数超过900万人次。在11月23日举办的"2026国考终极行测模考大赛"中,有近55万人报名参加,由此不难看出用户对粉笔的高度认可。

(来源:微博)
在11月15日,粉笔在北京举办投资人调研大会,从此次大会来看,粉笔正试图向市场传达一个关键信息:其AI战略已度过高投入的初期阶段,开始规模化变现并贡献实质性的收入和利润。AI,对于粉笔并非是一个未来的故事,而是当前业绩的重要支撑点。
接下来不妨围绕公司这一系列变化进一步挖掘粉笔的机会所在。
01
职教赛道前景广阔,政策、需求与技术共振
职业教育作为粉笔深耕的核心领域,眼下正处于政策红利释放、市场需求支撑、技术赋能深化的多重利好交汇点,行业迎来前所未有的发展窗口期。
一方面,政策层面支持力度持续加大。
近年来,国家层面密集出台多项支持职业教育发展的政策。如此前《职业教育法》的修订实施,明确了职业教育与普通教育具有同等重要地位,为职业教育的发展提供了坚实的法律保障。
同时,国家也在积极推进教育数字化战略。如在今年4月,教育部等九部门还联合发布《关于加快推进教育数字化的意见》,强调将深化推进国家教育数字化战略,并明确以人工智能等技术推动教育体系变革。
这些政策不仅为行业营造了良好的发展环境,也为AI等技术在教育场景的落地提供了明确指引,给整个行业带来了新的机遇。

(图片来源:中信建投)
另外从微观视角来看,此次国考报考年龄放宽的政策刺激也颇为直观,这为招录考试培训行业带来了明显的扩容效应。
另一方面,就业压力推动培训需求持续走高,庞大的受众群体撑起了职业教育赛道的广阔市场空间。
近年来,高校毕业生人数屡创新高,就业竞争日趋激烈。数据显示,2025年,我国高校毕业生总量已攀升至1222万人。2026年预计达到1593万,且未来数十年间,高校毕业生数量将不断刷新纪录,到2038年预计迎来1786万的峰值。

(来源:网络)
与此同时,据前程无忧51job发布的调研报告显示,2026届毕业生中,计划考公务员、事业单位或教师岗位的比例攀升至25.1%,较上年增长2.6个百分点。国有企业和机关事业单位以合计73.3%的意向率成为绝对首选。
这一趋势在招录考试报名数据中也得到印证。国考报名人数从2021年的157.6万增至2025年的341.6万,缴费人数与参考人数亦同步攀升。
可以说,持续增长的报考基数为招录培训市场提供了坚实的需求基础,而考生对培训效果与服务体验的要求不断提高,进一步推动资源向具备技术、品牌与数据积累的头部企业集中,这些均为行业领先企业带来了新的机遇。
02
稳健的经营基本盘与AI转型并进
在明确行业机遇的基础上,进一步审视粉笔自身的经营质量与转型进展。不难看到,尽管面临行业波动,公司在盈利能力、现金流管理与用户基础方面仍展现出不俗的韧性。
财报数据显示,粉笔上半年实现总收入14.92亿元,同比有所下降,主要是受行业竞争和市场整体需求波动影响。然而在利润端,公司仍实现净利润2.27亿元,经调整净利润达2.71亿元,反映出其在成本控制与运营效率上的优势。
尤其值得注意的是,公司毛利率上半年依然稳定在54.0%的高位。在同行都在打"价格战"的环境下,特别是部分中小机构为抢市场激进降价,粉笔交出的答卷可圈可点。

(来源:公司财报)
现金流方面。截至上半年,公司账上现金及现金等价物有9.74亿元。充裕的现金储备为其技术研发、市场拓展与战略布局提供了充分缓冲。
进一步关注到用户基本盘,粉笔上半年月活用户数延续增长势头达到930万,而截至2024年底,累计注册用户已超7274万。庞大的用户群体为其持续转化与生态构建奠定了坚实基础。
此次财报中,AI产品线成为核心亮点所在。
2025年以来,粉笔陆续推出了AI刷题系统班、AI面试点评、AI智能音箱等产品,市场反馈积极。以AI刷题系统班来看,自2025年4月推出后成为爆款,截至11月销量已突破20万单,远超内部预期。
更重要的是,AI技术的应用,不仅拓展了新的产品线、开辟业绩增长点,同时也帮公司降低了内容研发成本,提升了教学质量和用户体验。
例如,在学生面试备考环节,AI面试点评将老师反馈工作时间从20分钟缩短到5分钟以内,可用率在90%以上。另外AI技术也帮助提升了师资利用率,师均收入贡献获得提升。可见,AI不只是个营销概念,而是已经开始在运营端产生实际价值。
总的来看,粉笔的基本盘稳健扎实:用户规模大、现金流充裕、毛利率保持高位,与此同时,AI产品初步验证了转化潜力,打开新增长点,让公司后续有了更多的看点。
03
构建多维护城河,加速"飞轮"转动
聚焦到企业核心竞争力的探讨,粉笔的护城河可以说主要由技术投入、用户生态与商业化能力三大要素共同构筑,并在协同中不断深化。
首先,是技术护城河。
粉笔在技术研发上持续保持高投入姿态。2025年上半年其研发开支1.08亿元,近三年也都持续居于行业前列。
此外,公司还坚持All in AI。此前粉笔就曾公告把6080万港元的未动用IPO募集资金重新分配,重点投向AI垂直模型研发、高端人才和基础设施,显示出公司深耕AI战略的决心。
与此同时,这些投入已初步转化为产品能力与运营效率的提升,从前文所述的AI产品表现与经营优化中可见一斑。
其次,是用户护城河。
用户具体的数据上文已经提到,实际上,粉笔的用户基本盘不仅扎实,同时转化效率也相当高。这一点可以从一些经营细节中一窥究竟。
以今年上半年粉笔举办的AI面试模考大赛来看,参与人次接近150万,其中就有超过98%的用户愿意推荐给朋友。从这个数据不难看出,粉笔的产品直击用户痛点,形成了良好的口碑效应——这在获客成本越来越高的今天,可谓是实实在在的竞争力。
实际上,在当前AI时代,粉笔的用户护城河不仅只是"基数大",更在于形成了一个良性循环。
首先海量用户产生学习数据,而数据则能够用来训练AI模型,由此形成更智能、更懂用户的产品,从而达到更好的学习效果和用户口碑,进而吸引并留住更多用户。显然这个循环一旦转起来,其护城河也将越挖越深。
最后,粉笔在商业化能力上也形成了一道深厚的护城河。
粉笔不仅会研发技术,更懂得如何将技术快速商业化。特别是AI产品驱动用户转化已经呈现不俗的效果。同时还可以看到,其AI刷题班从概念到落地再到实现规模化营收,只用了很短时间。这种快速将技术转化为收入的能力,在教育行业实属难得。
目前粉笔只是展示了其商业化能力的冰山一角,未来相信还有更大的想象空间。
值得一提的是,在此前投资人调研大会上,管理层强调,当前AI相关业务产生的收入已能覆盖其成本并贡献利润,且利润以后会越来越好。同时管理层还提及,粉笔的公考AI模型和能力,还可以被快速复用到事业单位、教师、军队文职、国央企等新领域。仅国央企每年就有约400万的面试人群,这是一个尚未被充分开发的蓝海市场。如果能成功复制公考的成功,增长的天花板将被大幅抬高。
04
结语
回顾今年以来的行情,虽然A股和港股整体走强,但粉笔在资本市场上的表现相对平淡。这种"落后"背后,其实反映的是市场对其价值的认知分歧——多数人仍还在用老眼光看职业教育,对AI的潜力将信将疑,再加上行业价格战不断,资金自然不敢轻易下注。
信达证券在分析行业情况时就指出,当前不要只看短期利润,要看到AI可能带来的非线性增长。"既然处于变革的时代,可以用发展的眼光和事件驱动来看待这个行业的公司。"
由此来看,机会往往藏在预期差里。粉笔拥有稳定的用户基本盘、充裕的现金流、持续落地的AI产品,基本盘稳健扎实,转型亦颇具看点。随着AI应用效果的不断验证与市场认知的逐步深化,粉笔有望迎来价值重估的新机遇。
更多精彩内容,关注云掌财经公众号(ID:yzcjapp)
- 热股榜
-
代码/名称 现价 涨跌幅 加载中...