飞沃科技等成立检测技术服务公司
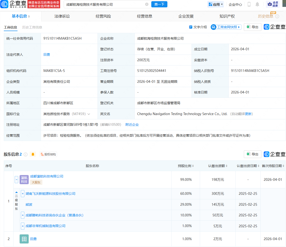
企查查APP显示,近日,成都航海检测技术服务有限公司成立,法定代表人为田勇,经营范围包含:检验检测服务。企查查股权穿透显示,该公司由飞沃科技(301232)旗下成都灌航科技有限公司等共同持股。

更多精彩内容,关注云掌财经公众号(ID:yzcjapp)
以上内容仅供学习交流,不作为投资依据,据此操作风险自担。股市有风险,入市需谨慎! 点击查看风险提示及免责声明
- 热股榜
-
代码/名称 现价 涨跌幅 加载中...
加载中 ...![]()